Published:2009/6/25 22:39:00 Author:May | From:SeekIC

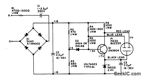
The electronic bell needs no power sup-ply. Most of the resistors are not critical, al-though C2, R2, and R3 work best at the values given. Leaving out RI will make the unit ring louder. The piezo buzzer may vary from store to store. If it has two leads, connect the red lead to the collector and the black lead to the emit-ter of Q1. If a third (blue) lead is present, connect it to the base of Q1.
Reprinted Url Of This Article:
http://www.seekic.com/circuit_diagram/Electrical_Equipment_Circuit/Telephone-Related_Circuit/TELEPHONE_RINGER_USES_PIEZOELECTRIC_DEVICE.html
Print this Page | Comments | Reading(3)
Code: