Published:2009/6/24 2:35:00 Author:Jessie | From:SeekIC

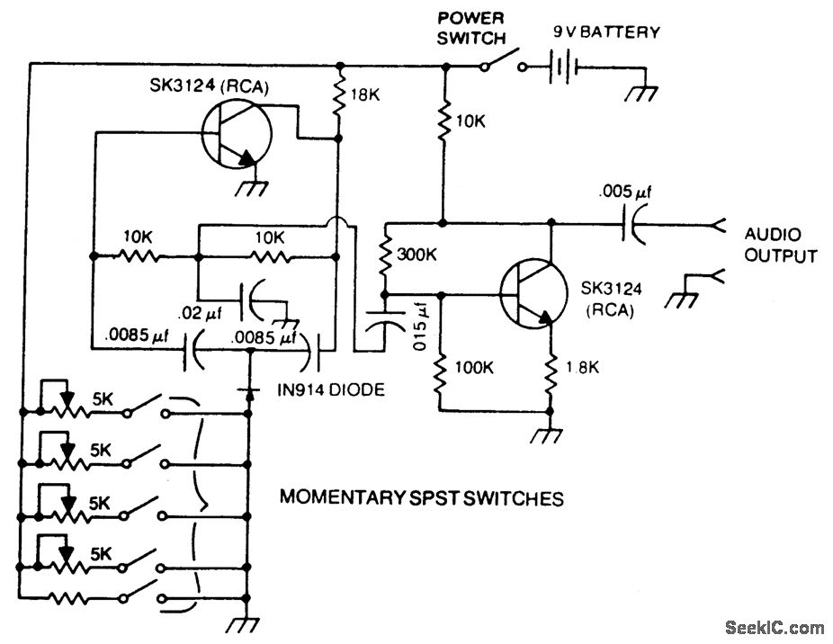
A basic twin-T circuit uses resistors for accurately setting the frequency of theoutput tones, selected by pushbutton. Momentary switches produce a tone only when the button is depressed.
Reprinted Url Of This Article:
http://www.seekic.com/circuit_diagram/Electrical_Equipment_Circuit/Telephone-Related_Circuit/TONE_ENCODER.html
Print this Page | Comments | Reading(3)
Code: