Published:2011/5/26 4:36:00 Author:Lucas | Keyword: electronic QN | From:SeekIC

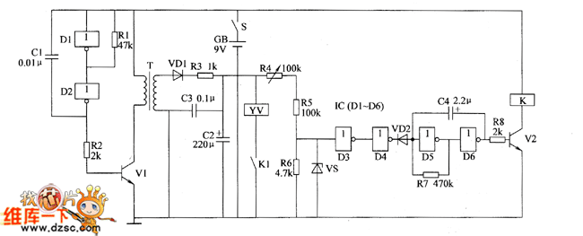
The electronic QN circuit is composed of the multi-vibrator circuit, step-up circuit, voltage regulator, low frequency oscillator and the magnet control circuit and other components, the circuit is shown as the chart. Multivibrator is composed of six NOT gate integrated circuit IC (D1 ~ D6) and D1, D2 and capacitor C1, resistor R1 which is inside of NOT gate circuit. Step-up circuit consists of the transistor V1, step-up transformer T, rectifier diode VD1, resistors R2, R3 and capacitors C2, C3 and so on. Regulator circuit consists of resistors R4 ~ R6 and zener diodes VS. Low-frequency oscillator circuit is composed of the D3 ~ D6 and resistor R7, capacitor C4, diode VD2 which is inside of NOT gate. Solenoid control circuit is composed of the transistor V2, the relay K, diode VD3 and solenoid YV.
Reprinted Url Of This Article:
http://www.seekic.com/circuit_diagram/Electrical_Equipment_Circuit/The_electronic_QN_circuit_diagram_2.html
Print this Page | Comments | Reading(3)
Code: