Published:2009/7/14 3:44:00 Author:May | From:SeekIC

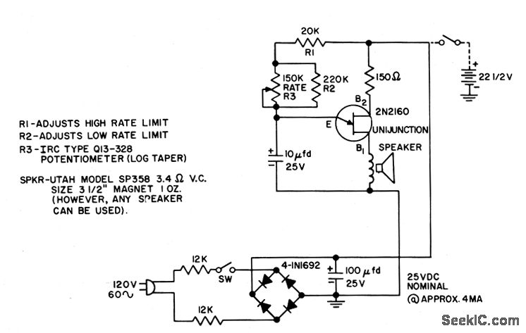
Rate is adjustable from 40 (low largo) to 220(high presto) beats per minute.- Transistor Manual, Seventh Edition, General Electric Co., 1964, p 379.
Reprinted Url Of This Article:
http://www.seekic.com/circuit_diagram/Electrical_Equipment_Circuit/UJT_MEIRONOME.html
Print this Page | Comments | Reading(3)
Code: