Published:2009/7/23 22:00:00 Author:Jessie | From:SeekIC

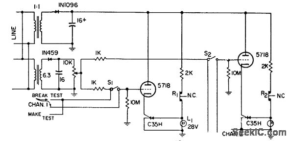
Gives visual indication of momentary contact malfunctions in components during vibration testing. Also indicates permanent open or short. Each channel monitors one component. In testing device having nomally closed contacts, lamp should come on initially. lamp goes out if contacts open momentarily. If lamp remains on offer reset switch for channel is pushed and released, open was momentary. If lamp goes out on release, open is permanent.-Component Vibration Test Monitor, Electronic Circuit Design Handbook, Mactier Pub. Corp., N.Y., 1965, p 159.
Reprinted Url Of This Article:
http://www.seekic.com/circuit_diagram/Electrical_Equipment_Circuit/VIBRATION_TEST_MONITOR.html
Print this Page | Comments | Reading(3)
Code: