Published:2009/7/21 8:30:00 Author:Jessie | From:SeekIC

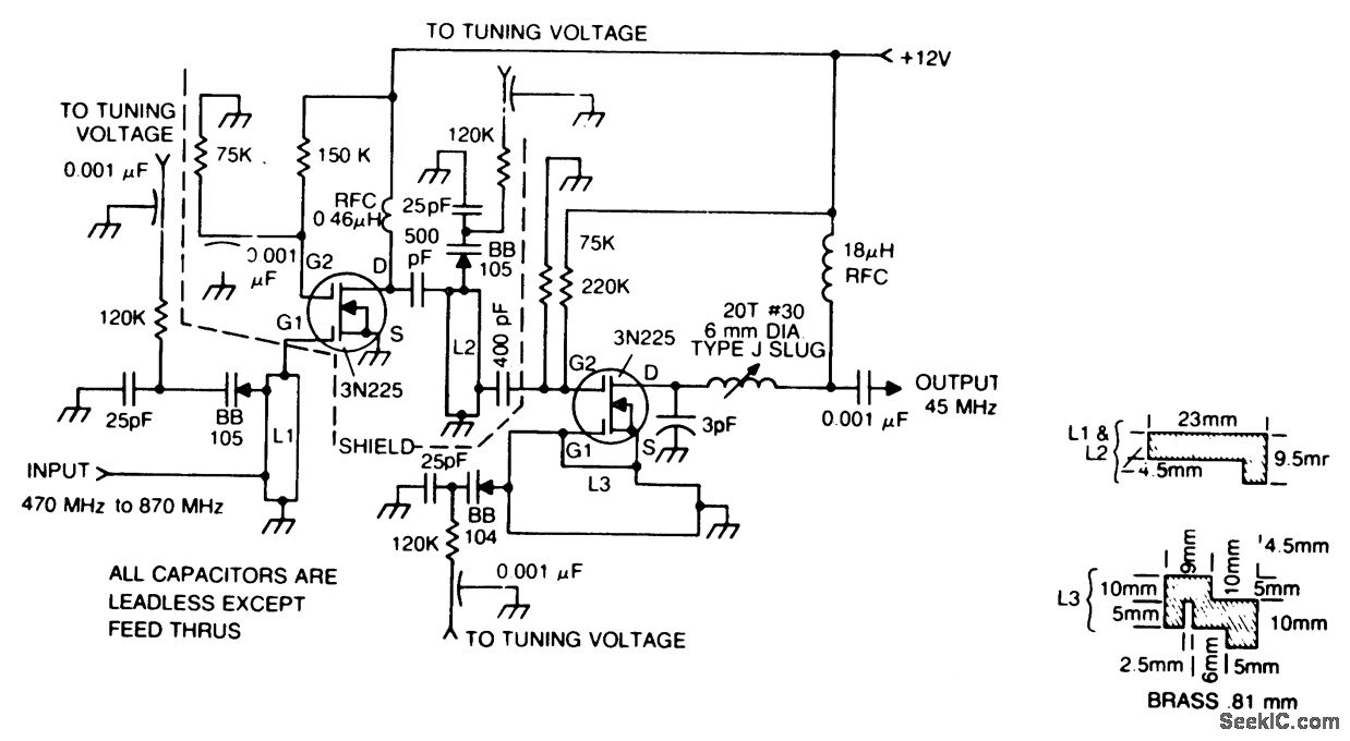
Varactor UHF TV tuner using a 3N225 dua-gate MOSFET(courtesy Texas Instruments Incorporated).
Reprinted Url Of This Article:
http://www.seekic.com/circuit_diagram/Electrical_Equipment_Circuit/Varactor_UHF_TV_tuner_using_a_3N225_dua_gate_MOSFET.html
Print this Page | Comments | Reading(3)
Code: