Published:2011/4/11 2:26:00 Author:may | Keyword: Ventilator automatically stop | From:SeekIC

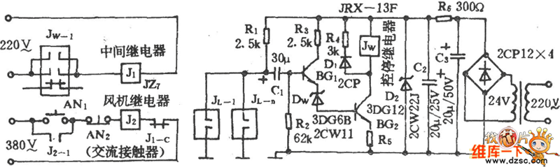
Ventilator automatically stop circuit diagram is shown in the diagram:
Reprinted Url Of This Article:
http://www.seekic.com/circuit_diagram/Electrical_Equipment_Circuit/Ventilator_automatically_stop_circuit_diagram.html
Print this Page | Comments | Reading(3)
Code: