Published:2009/7/23 20:59:00 Author:Jessie | From:SeekIC

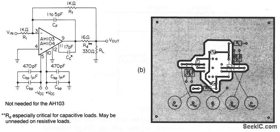
This circuit shows a video pulse amplifier that uses the basic circuit of Fig. 3-44. Figure 3-45B shows a suggested PC layout. Notice that internal current-limiting resistors provide short-circuit protection to the common line, with a limit of 100-mA maximum. A short to either supply line can destroy the unit.Typical supply voltages are± 20 V.
Reprinted Url Of This Article:
http://www.seekic.com/circuit_diagram/Electrical_Equipment_Circuit/Video_pulse_amplifier.html
Print this Page | Comments | Reading(3)
Code: