Published:2009/6/30 23:27:00 Author:May | From:SeekIC


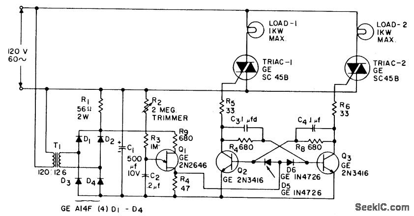
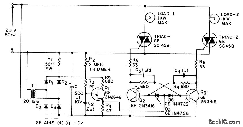
This is an application of the static switch circuit where the control logic is a flip-flop which is controlled by the unijunction transistor. The flashing rate can be adjusted from about 0.1 second to a 10 second cycle time.
Reprinted Url Of This Article:
http://www.seekic.com/circuit_diagram/LED_and_Light_Circuit/1_KW_FLIP_FLOP_FLASHER_CIRCUIT.html
Print this Page | Comments | Reading(3)
Code: