Published:2009/6/18 22:30:00 Author:May | From:SeekIC

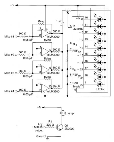
This circuit will produce an output when the sound exceeds a preset level. The LM3915 is a log-output bar graph driver. Use the transistor driver shown for higher current loads. To drive heavy-current loads with an LM3915 output, you must add a transistor, as shown in B.
Reprinted Url Of This Article:
http://www.seekic.com/circuit_diagram/LED_and_Light_Circuit/AUDIO_LIGHT.html
Print this Page | Comments | Reading(3)
Code: