Published:2009/7/13 21:44:00 Author:May | From:SeekIC

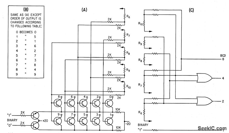
Transistor terminals 0 to 9 represent connections to Nixie indicator. Which requires no buffers. Counting rate can exceed 500 Mc, using 2N2708 transistors. Bi-quinary decade connections, shown at right and in table, permit easy conversion to bcd. –R. Engelmann. B-Quinary Scaling: Accuracy and Simplicity at 500 Mc. Electronics.36:46,p34-36.
Reprinted Url Of This Article:
http://www.seekic.com/circuit_diagram/LED_and_Light_Circuit/BIQUINARY_DECADE_WITH_NIXIE_INDICATORS.html
Print this Page | Comments | Reading(3)
Code: