Published:2009/7/14 5:38:00 Author:May | From:SeekIC

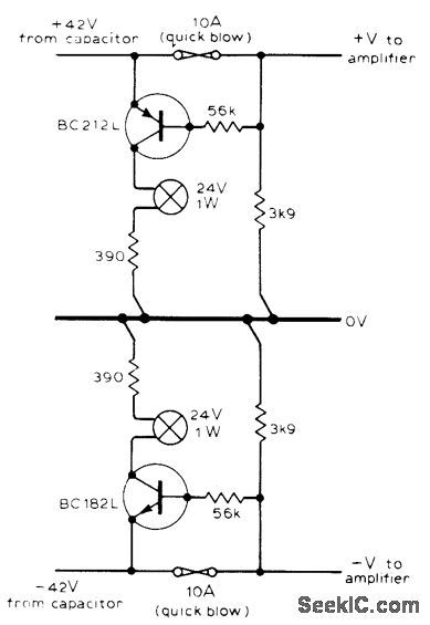
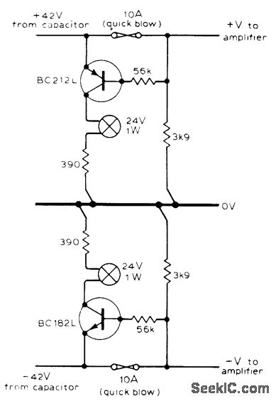
Used with quick-blow fuses in high-power audio amplifier using split power supply, when fuse blows, transistor shunting it is turned on and ρasses current to corresponding indicator lamp, Maximum current in blown-fuse condition is less than 1mA.-I, Flindell, Amplifier Blown-Fuse Indicator, Wireless World,Sept. 1976, p 73.
Reprinted Url Of This Article:
http://www.seekic.com/circuit_diagram/LED_and_Light_Circuit/BLOWN_FUSE_INDICATOR.html
Print this Page | Comments | Reading(3)
Code: