Published:2009/7/20 0:09:00 Author:Jessie | From:SeekIC

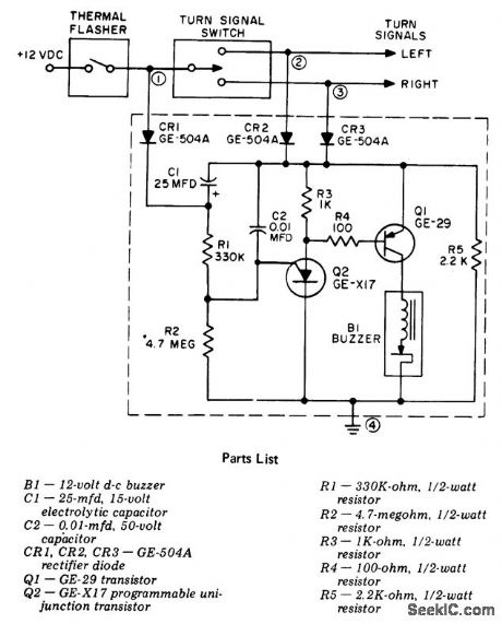
Car turn signal reminder. This circuit is designed for 12-volt negative ground systems only. For cars with a 6-volt negative ground system use a 6-volt buzzer. The circuit cannot readily be adapted for positive ground systems (courtesy General Electric Company).
Reprinted Url Of This Article:
http://www.seekic.com/circuit_diagram/LED_and_Light_Circuit/Car_turn_signal_reminder.html
Print this Page | Comments | Reading(3)
Code: