Published:2009/6/23 2:49:00 Author:May | From:SeekIC

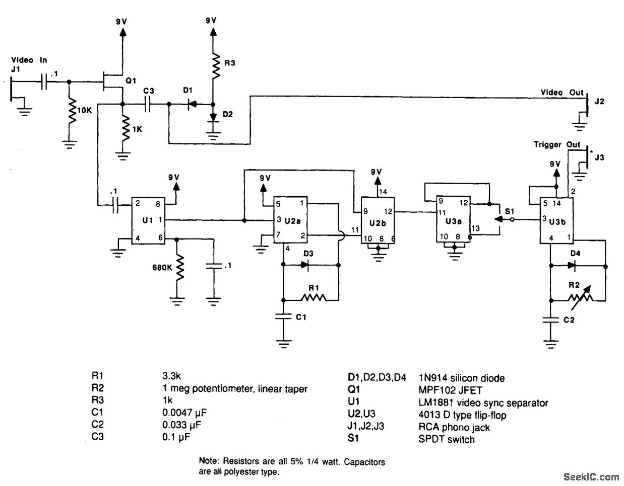
This circuit will extract vertical sync from a video signal, produce a vertical sync pulse, and add an adjustable delay. This permits a delayed sweep effect to enable a scope to look at any particular horizontal line. It is useful for older scopes.
Reprinted Url Of This Article:
http://www.seekic.com/circuit_diagram/LED_and_Light_Circuit/DELAYED_VIDEO_TRIGGER_FOR_SCOPES.html
Print this Page | Comments | Reading(3)
Code: