Published:2009/7/13 4:22:00 Author:May | From:SeekIC

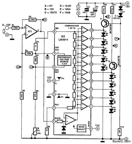
A particular difficulty with LED bar displays is the high current drain. In the diagram, LED driver LM3914 controls a chain of LEDs instead of, as is usual, a number of parallel-connected LEDs. This means that in principle only a single diode current is needed to make several LEDs light. The cost of this, of course, is a higher supply voltage because account must be taken of a number of diode forward voltages. The economizing effect is strengthened if high-efficiency LEDs are used. In the diagram, the current drain of about 15 mA is less than half that of the standard application (32 mA).
Reprinted Url Of This Article:
http://www.seekic.com/circuit_diagram/LED_and_Light_Circuit/ECONOMICAL_LED_BAR_DISPLAY.html
Print this Page | Comments | Reading(3)
Code: