Published:2009/6/30 23:57:00 Author:May | From:SeekIC

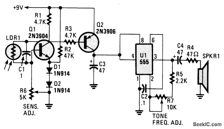
A cadmium sulfide photocell (LDR1, which is a light-dependent resistor) is connected to the base and collector of an npn transistor, Q1. When light hits LDR1, the internal resistance goes from a very high (dark) value to a low (light) value, supplying base current to Q1, turning it on. The voltage across RI produces a bias that turns Q2 on, which in turn, supplies the positive voltage to U1 at pin 8 (the positive-supply input) and pin 4 (the reset input), to operate the 555 audio oscillator circuit. The circuit's sensitivity to light can be set via R6 (a 50,000 ohm potentiometer). R7 sets the audio tone to the most desirable sound. The squarewave audio tone is fed from U1 pin 3 to a small speaker through coupling capacitor C4 and current limiting resistor R4.
Reprinted Url Of This Article:
http://www.seekic.com/circuit_diagram/LED_and_Light_Circuit/ELECTRONIC_WAKE_UP_CALL.html
Print this Page | Comments | Reading(3)
Code: