Published:2009/6/16 23:37:00 Author:May | From:SeekIC

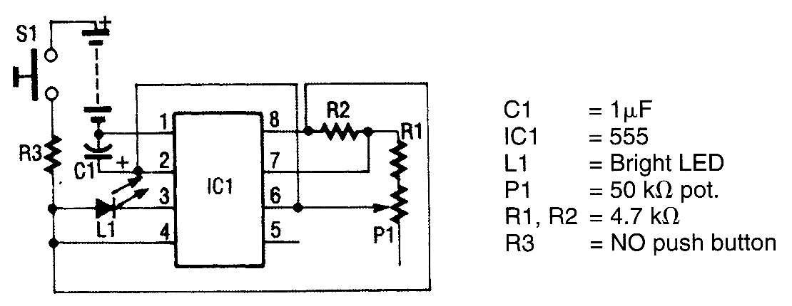
The circuit uses a 555 timer IC to power an ultrabright LED. The output is a pulsing red light that can be projected using lenses. An ultrabright Stanley LED, capable of 300-millicandle output, is tied to pin 3 of the 555 timer IC. That IC has been configured as an astable multivibrator. The fre-quency of this multivibrator is controlled by R1, R2, C1, and P1. You can vary the frequency by ad-justing P1, which changes the output from a slow blinking to a fast pulsating light. Resistor R3 is used to limit the current flowing into the circuit to a safe value, to prevent the LED and the IC from bum-ing out. Switch S1 applies power to the circuit when its button is pressed.
Reprinted Url Of This Article:
http://www.seekic.com/circuit_diagram/LED_and_Light_Circuit/FANTASTIC_SIMULATED_LASER.html
Print this Page | Comments | Reading(3)
Code: