Published:2009/7/15 22:43:00 Author:Jessie | From:SeekIC

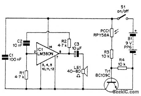
The circuit is activated if Tr1 is switched on by a suitable base current and voltage. The voltage and current available aJt the base of Tr1 are dependent on two main factors: the resistance provided by R4 and the setting of control VR1. If VR1 is set at maximum value, photocell PCC1 needs to have a resistance of about 10,000 Ω to bias Tr1 into conduction and activate the audio alarm circuit, of which IC1 is a primary part. Fixed resistor R4 has been used across the base-emitter terminals of the switching transistor so that the sensitivity of the circuit is preset. R4 can be raised somewhat in value if increased sensitivity is required. The audio-alarm generator uses an LM380N (IC1) in a simple au-dio-oscillator circuit, and drives high-impedance loudspeaker LS1 via coupling capacitor C3. Pro-vided the losses through this coupling are less than the voltage gain provided by the amplifier, this will give sufficient positive feedback to sustain oscillation. The values for R1, R2, and C2 shown in the circuit diagram give considerably more feedback than is needed to just sustain oscillations, and the circuit oscillates strongly, producing a square-wave output at a frequency in the region of 1 kHz (1000 Hz).
Reprinted Url Of This Article:
http://www.seekic.com/circuit_diagram/LED_and_Light_Circuit/LIGHT_ALARM.html
Print this Page | Comments | Reading(3)
Code: