Published:2009/7/19 22:43:00 Author:Jessie | From:SeekIC

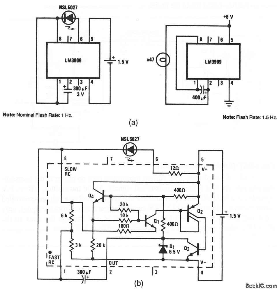
This circuit shows two simple flashers that use an LM3909. Figure 12-43B shows the internal circuit. Notice that the LM3909 requires only 1.5 V.However, 6 V is required when the LM3909 must drive a #47 lamp (or any similar load), instead of an LED. The flashing rate is determined by the value of the capacitor between pins 1 and 2. Iffiioo8l Semiconductor Linear Applications Handbook, 1991 p 394
Reprinted Url Of This Article:
http://www.seekic.com/circuit_diagram/LED_and_Light_Circuit/Low_power_flashers.html
Print this Page | Comments | Reading(3)
Code: