Published:2009/7/13 4:15:00 Author:May | From:SeekIC


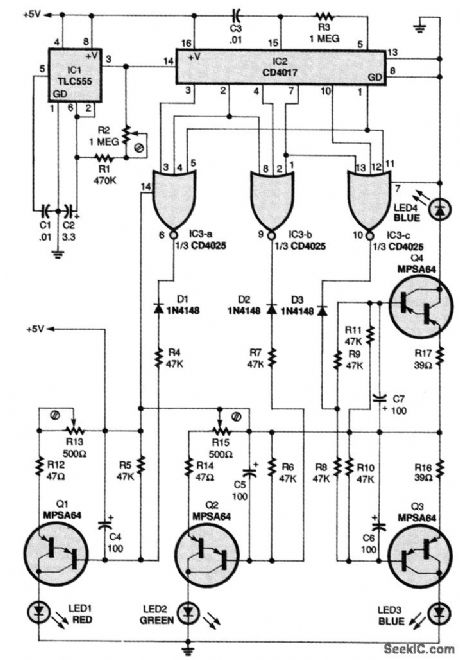
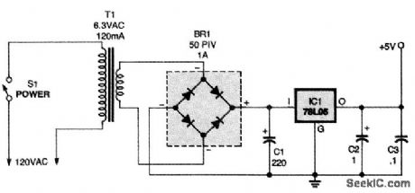
A TLC555 CMOS timer, IC1, is configured as a square-wave generator that has an adjustable time period of about 2 to 7 s. That output drives IC2, a CD4017 CMOS Johnson counter, which provides the six decoded output steps necessary to trigger the three additive and three subtractive primary color combinations. A CD4025 CMOS triple three-input NOR gate, IC3, gates the six outputs to the proper LED current sources, thereby maintaining the correct color-mixing sequence. Four MPSA64 PNP Darlington transistors (Q1 to Q4) are configured as gated current sources, with capacitors C4 to C7 providing long time constants that allow LED1 to LED4 to ramp up and down in intensity. This allows the color changes to be continuous, rather than in six abrupt steps. Power for the circuit is provided by a 5-V supply. Transformer T1 steps down the voltage from a wall outlet to 6.3 Vac, recti-fied by BR1 and regulated by IC1, a 78L05.
Reprinted Url Of This Article:
http://www.seekic.com/circuit_diagram/LED_and_Light_Circuit/MULTICOLOR_LED_DRIVER.html
Print this Page | Comments | Reading(3)
Code: