Published:2009/7/6 1:11:00 Author:May | From:SeekIC

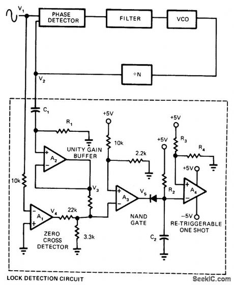
Developed for use with phase-locked loop to indicate both acquisition and loss of lock. Based on concept that lock exists as long as static-phase error is less than 90°. Uses quad opamp package such as RC4136, with A4 feeding retriggerable one-shot; output of one-shot is low when lock exists. When lock is lost, output of one-shot immediately goes high and remains high until lock is reacquired plus time duration of one-shot. Developed for use in systems where certain processes must be interrupted immediately upon loss of lock.-J. C. Hanisko, PLL Lock Indicator Uses a Single IC, EDN Magazine, Oct. 5, 1976, p 104.
Reprinted Url Of This Article:
http://www.seekic.com/circuit_diagram/LED_and_Light_Circuit/PLL_LOST_LOCK_INDICATOR.html
Print this Page | Comments | Reading(3)
Code: