Published:2009/7/10 4:16:00 Author:May | From:SeekIC

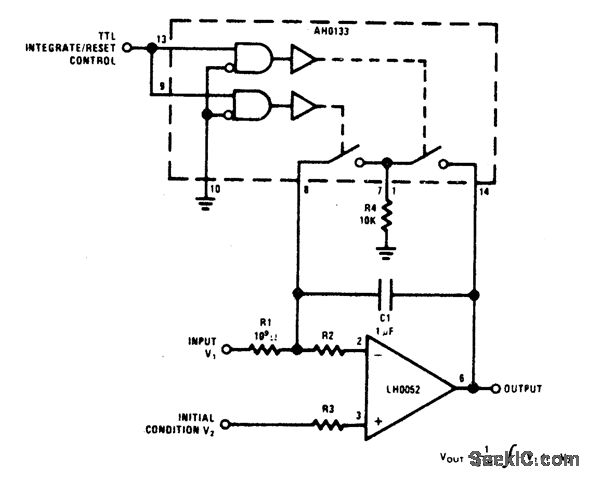
Low input bias current of Natiortal LH0052 opamp makes it suitable for applioations requiring long time con stants. R1 is selected so total leakage current at summing mode is sufficiently smaller than sig-nal current to ensure required accuracy. R2 is included to protect input circuit during reset ransient but can be omitted for low-speed applications. R3, used to balance resistance in inputs, should be equal to sum of R2 and 100-ohm resistance of reset switch.- Linear Applications, Vol. 1, National Semiconductor, Santa Clara, CA, 1973, AN-63, p 1-12.
Reprinted Url Of This Article:
http://www.seekic.com/circuit_diagram/LED_and_Light_Circuit/PRECISION_INTEGRATOR.html
Print this Page | Comments | Reading(3)
Code: