Published:2009/7/9 23:38:00 Author:May | From:SeekIC

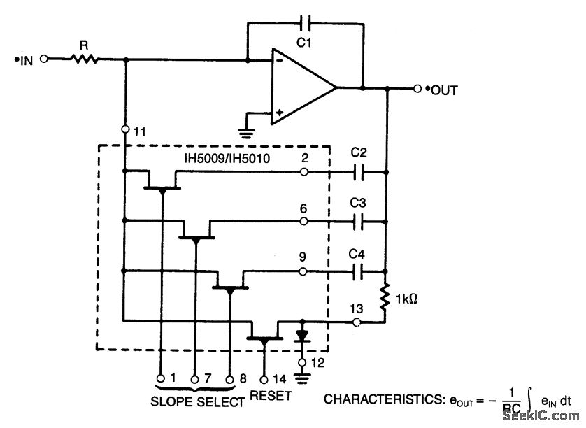
By using analog swi,ch IH5009/IH5010 to select various capattors, a variable slope integrator can be had.If C3=2(C2) and C4=4(C2), seven different slopes can be obtained if binary informatlon is fed to pins 1, 7, and 8 of the analog switch.
Reprinted Url Of This Article:
http://www.seekic.com/circuit_diagram/LED_and_Light_Circuit/PROGRAMMABLE_SLOPE_INTEGRATOR.html
Print this Page | Comments | Reading(3)
Code: