Published:2011/4/29 5:08:00 Author:Rebekka | Keyword: Single-transistor , time relay | From:SeekIC

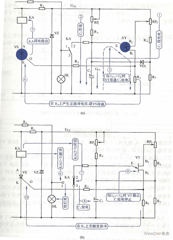
Single-transistor time relay circuit diagram.
Reprinted Url Of This Article:
http://www.seekic.com/circuit_diagram/LED_and_Light_Circuit/Single_transistor_time_relay_circuit_diagram.html
Print this Page | Comments | Reading(3)
Code: