Published:2009/7/9 21:02:00 Author:May | From:SeekIC

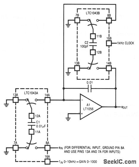
The circuit uses the LTC1043 in a variable gam amplifier which features continuously variable gain, gain stability of 20 ppm/℃, and single-ended or differential inputs. The circuit uses two separate LTC1043s. LTC1043B is continuously clocked by a 1-kHz source, which could also be processor supplied. Both LTC1043s function as the sampled data equivalent of a resistor within the bandwidth set by A1's 0.01-μF value and the switched-capacitor equivalent feedback resistor. The time-averaged current delivered to the summing point by LTC-1043A is a function of the 0.01-μF capacitor's input-derived voltage and the commutation frequency at pin 16. Low-commutation frequencies result in small time-averaged current values, and require a large input resistor. Higher frequencies require an equivalent small input resistor.
Reprinted Url Of This Article:
http://www.seekic.com/circuit_diagram/LED_and_Light_Circuit/WIDE_RANGE_DIGITALLY_CONTROLLED_VARIABLE_GAIN_AMPLIFIER.html
Print this Page | Comments | Reading(3)
Code: