Published:2009/7/10 3:58:00 Author:May | From:SeekIC

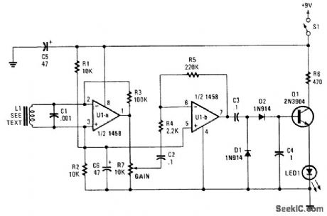
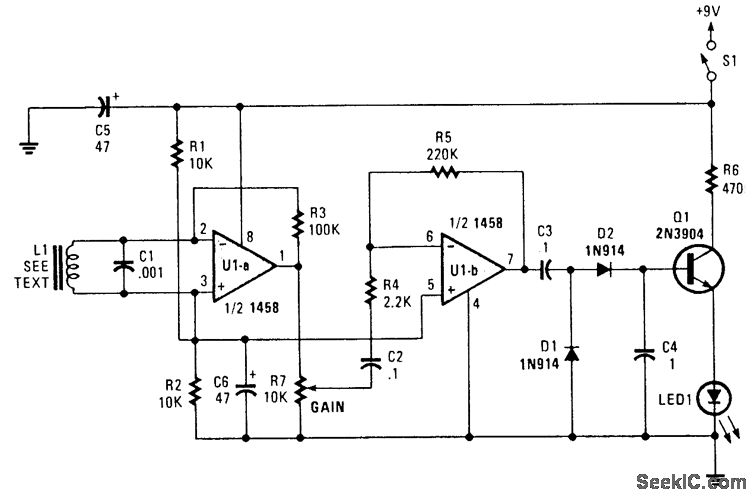
Using a dual op amp driving a rectifier and emitter-follower, this circuit indicates ac current on an LED. L1 is an audio transformer winding using a pick-up coil, or 100 to 200 turns of #28 gauge wire 2 in diameter, etc. The circuit can trace ac lines behind walls, etc. or detect ac current flow.
Reprinted Url Of This Article:
http://www.seekic.com/circuit_diagram/LED_and_Light_Circuit/as_CURRENT_INDICATOR.html
Print this Page | Comments | Reading(3)
Code: