Published:2009/7/2 3:31:00 Author:May | From:SeekIC

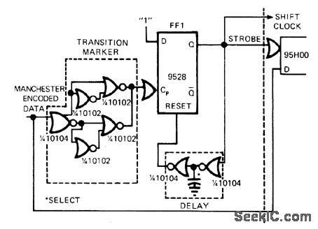
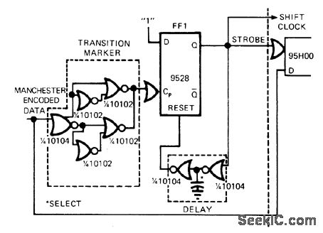
Use of ECL flip-flop with toggle rates above 1 GHz makes , decoding of bit rates approaching gigabit speeds feasible. Article gives step-by-step destgn procedure for 48-Mb telemetry application using PCM over single optical-fiber cable.-B.R.Jarrett,Could You Design a High-Speed Manchester-Code Demodulator?, EDN Magazine, Aug. 20, 1974, p 75-80.
Reprinted Url Of This Article:
http://www.seekic.com/circuit_diagram/Measuring_and_Test_Circuit/1_GHz_MANCHESTER_DECODER.html
Print this Page | Comments | Reading(3)
Code: