Published:2009/7/11 5:16:00 Author:May | From:SeekIC

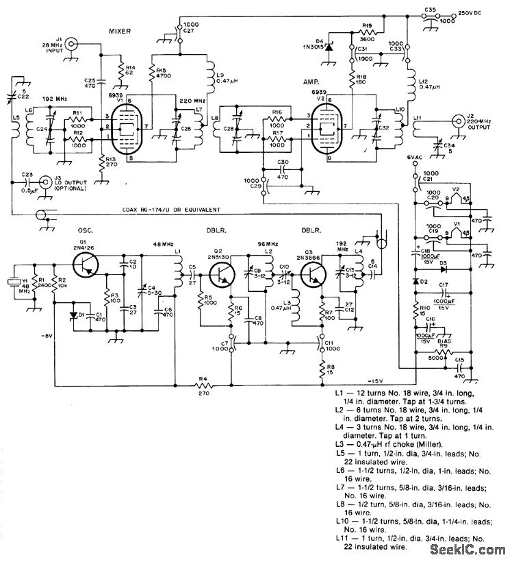
Permits use of 2-meter transceiver to transmit in 220-MHz band with minimum of 6-W power output for 1-W drive on 28 MHz Local-oscillator output at 192 MHz can be used for receiving converter as well Use 8-pF butterfly-type air variable(Johnson 160-028-001)for C24, C26, C28, and C32,D1 is GE ZD8. 28-V1-Wzener,-F. J. Merry、A220-MHz Transmit Converter, QST, Jan, 1978, p 16-20.
Reprinted Url Of This Article:
http://www.seekic.com/circuit_diagram/Measuring_and_Test_Circuit/28_MHz_TO_220_MHz_FOR_TRANSMIT.html
Print this Page | Comments | Reading(3)
Code: