Published:2009/7/13 23:39:00 Author:May | From:SeekIC

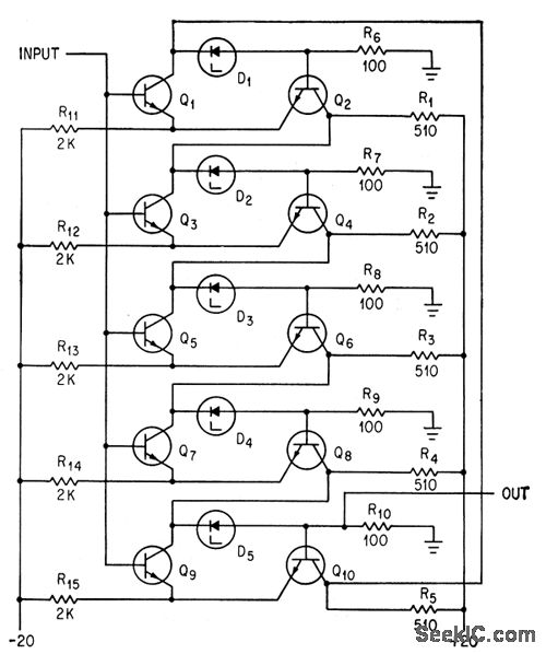
Quinary divides input events by 5, using current-mode switches, and binary divides quinary output by 2 to give total division of 10.Chief drawback is difficulty of converting to bcd. All transistors ere 2N2708.-R. Englemann, B-Quinary Scaling: Accuracy and Simplicity at 500 Mc, Electronics, 36:46, p34-36.
Reprinted Url Of This Article:
http://www.seekic.com/circuit_diagram/Measuring_and_Test_Circuit/500_MC_BIQUINARY_COUNTER.html
Print this Page | Comments | Reading(3)
Code: