Published:2009/7/14 4:19:00 Author:May | From:SeekIC

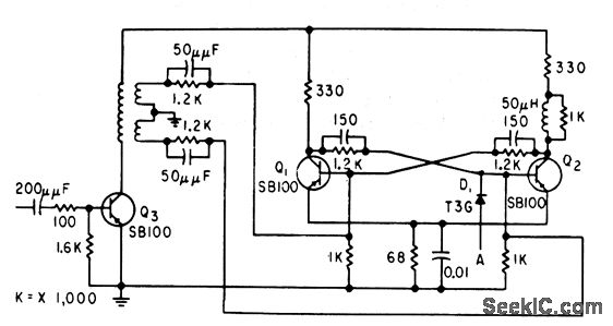
Stores pulses re calved from oscillator gate. 128th pulse resets counter to zero. Complete binary counter consists of seven cascaded bistable multivibrators, transformer-triggered.-W. W. Grannemann et al, Pulse-Height-to-Digital Signal Converter, Electronics, 33:2, p 58-60.
Reprinted Url Of This Article:
http://www.seekic.com/circuit_diagram/Measuring_and_Test_Circuit/7_DIGIT_BINARY_COUNTER.html
Print this Page | Comments | Reading(3)
Code: