Published:2009/7/1 22:32:00 Author:May | From:SeekIC

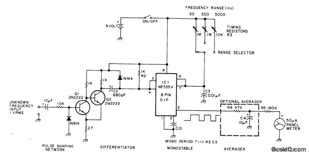
Timer IC1 forms basis for Iinearfrequency meter covering audio spectrum. Mono MVBR puts out fixed-width pulse when triggered by unknown inputfrequency. Article covers operation and calibration. Errata: pin 4 of 555 should be connected to pin 8 instead of to pin 2,-G.Hinkle,IC Audio IC Audio Frequency Meter,73 Magazine,Holiday issue 1976、p 61.
Reprinted Url Of This Article:
http://www.seekic.com/circuit_diagram/Measuring_and_Test_Circuit/AF_METER_.html
Print this Page | Comments | Reading(3)
Code: