Published:2009/6/22 22:54:00 Author:May | From:SeekIC

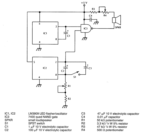
IC1 generates an audible frequency while a variable very low frequency is generated by IC2. R1 sets the metronome rate. The two signals are combined in IC3.
Reprinted Url Of This Article:
http://www.seekic.com/circuit_diagram/Measuring_and_Test_Circuit/AUDIBLE_METRONOME.html
Print this Page | Comments | Reading(3)
Code: