Published:2009/6/18 2:48:00 Author:May | From:SeekIC

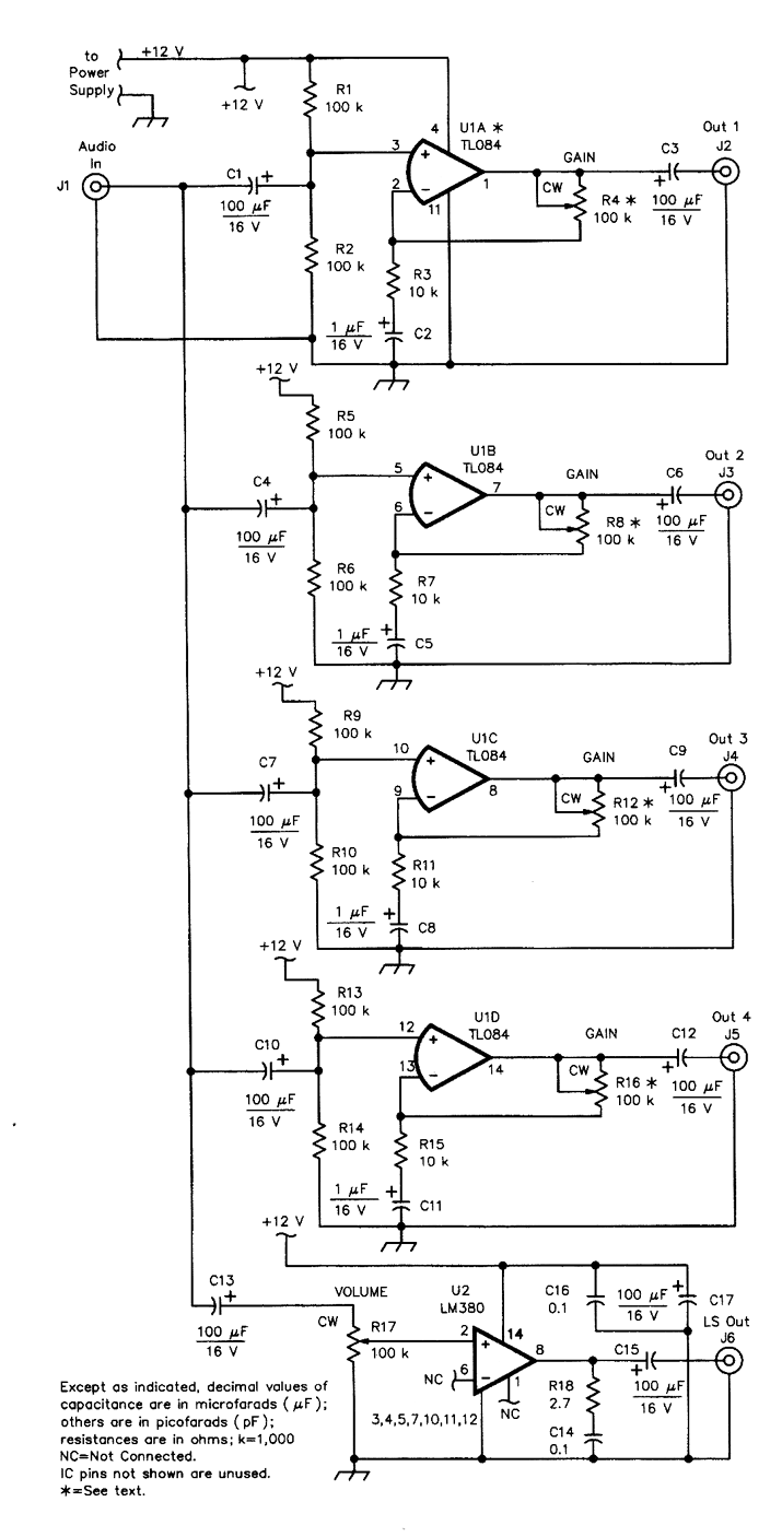
In many radio shacks, one receiver audio-output line feeds a multitude of add-ons, such as one or more TNXs, SSTV modems, PC plug-in boards, and, perhaps, speakers. Having to manually plug the audio source from one accessory to another is inconvenient, if not frustrating as well. Overload-ing the sources by connecting the loads in parallel isn't satisfactory, either.The audio breakout box takes the audio output from a receiver (or other audio source) and ap-plies it to the inputs of four identical, independent, low-level N' buffer/amplifiers and one high-level (1-W qutput) AI' channel. Each low-level output channel can provide up to 20 dB of gain that's in-dependently adjustable.
Reprinted Url Of This Article:
http://www.seekic.com/circuit_diagram/Measuring_and_Test_Circuit/AUDIO_BREAKOUT_BOX.html
Print this Page | Comments | Reading(3)
Code: