Published:2009/7/14 1:28:00 Author:May | From:SeekIC

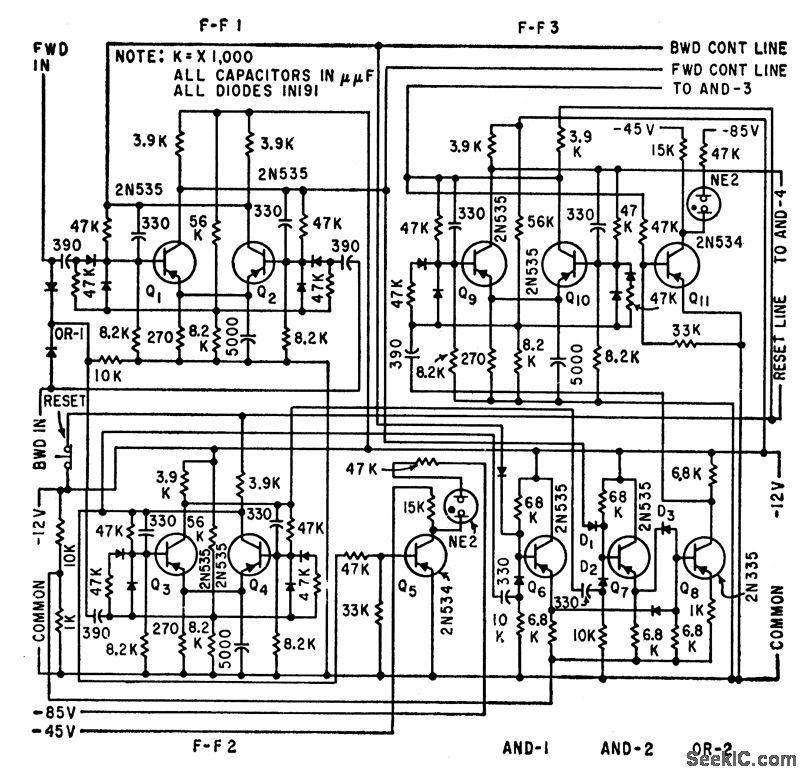
Adds or subtracts pulses under control of appropriate logic circuits. All flip-flops are identical, operating in saturation mode for maximum stability.-H.J.Weber, Binary Circuits Count Backwards or Forwards, Electronics, 32:39, p 82-83.
Reprinted Url Of This Article:
http://www.seekic.com/circuit_diagram/Measuring_and_Test_Circuit/BACKWARD_OR_FORWARD_COUNTER.html
Print this Page | Comments | Reading(3)
Code: