Published:2009/7/11 2:50:00 Author:May | From:SeekIC

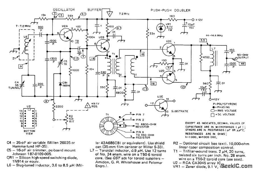
Uses CA3045 transistor array, with U2A as series-tuned Clapp oscillator covering 7-7.2 MHz. Tuned emitter-follower U2B provides push-pull drive at 7 MHz to bases of push-push doubler U2C-U2D. Output of BFO is applied to product detector rather than to mixer of receiver. Audio signal from detector is frequency difference between BFO and incoming signal, typically 700 Hz for CW reception.Article covers construction and adjustment.-D. DeMaw, Understanding Linear ICs, QST, Feb.1977, p 19-23.
Reprinted Url Of This Article:
http://www.seekic.com/circuit_diagram/Measuring_and_Test_Circuit/BFO_FOR_20_METERS.html
Print this Page | Comments | Reading(3)
Code: