Published:2009/7/20 20:05:00 Author:Jessie | From:SeekIC

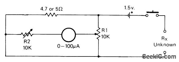
Set meter reading to zero with multiturn pot R1 when test leads are shorted. Simple one-point calibration is made by using known low resistance for about midrange value and setting meter to convenient scale marking by adjusting R2. Calibration curve is then made for meter scale by using other normal resistances.-J. Schultz, An Ohmmeter Potpourri, CQ, June 1978, p 32-33.
Reprinted Url Of This Article:
http://www.seekic.com/circuit_diagram/Measuring_and_Test_Circuit/BRIDGE_FOR_01_5_OHMS.html
Print this Page | Comments | Reading(3)
Code: