Published:2009/7/17 2:03:00 Author:Jessie | From:SeekIC

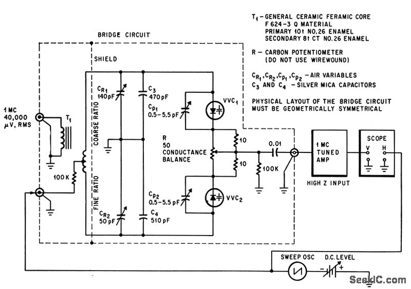
Output signal voltage of capacitance bridge, proportional to capacitance unbalance, is applied to vertical input of scope through 1-Mc preamp. Horizontal sweep voltage of scope is also applied as bias to voltage-variable capacitances VVC whose tracking is being measured, so scope display shows diode capacitance-tracking as function of bias voltage.-L. A. Weldon and R. L. Kopski, Boost for Electronic Tuning, Electronics, 37:14,p 61-63.
Reprinted Url Of This Article:
http://www.seekic.com/circuit_diagram/Measuring_and_Test_Circuit/CAPACITANCE_TRACKING_TEST_SET.html
Print this Page | Comments | Reading(3)
Code: