Published:2009/6/25 21:48:00 Author:Jessie | From:SeekIC

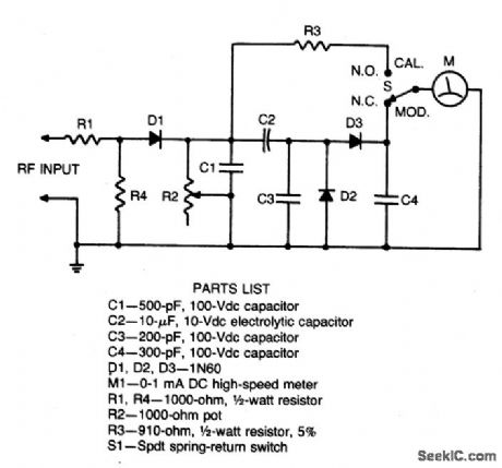
Connect this circuit to a transceiver with a coaxial T connector in the transmission line. Key the transmitter (unmodulated), set S1 to CAL, and adjust R2 for a full scale reading. Return S1 to MOD position. The meter will read % modulation with 10% accuracy.
Reprinted Url Of This Article:
http://www.seekic.com/circuit_diagram/Measuring_and_Test_Circuit/CB_MODULATION_MONITOR.html
Print this Page | Comments | Reading(3)
Code: