Published:2009/6/17 4:15:00 Author:May | From:SeekIC

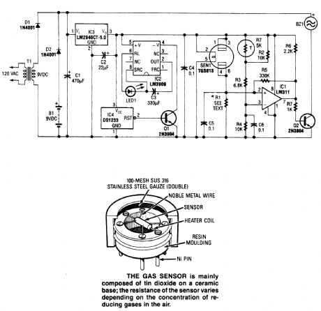
The circuit shown is useful for the detection of dangerous levels of combustible fumes or gases. It uses a comparator circuit to trigger an alarm buzzer. The sensor's resistant element is connected in series with resistor R1 to form a voltage-divider circuit; R1 is specifically matched to each gas sensor by the manufacturer.
Reprinted Url Of This Article:
http://www.seekic.com/circuit_diagram/Measuring_and_Test_Circuit/COMBUSTIBLE_GAS_DETECTOR.html
Print this Page | Comments | Reading(3)
Code: