Published:2009/6/15 21:19:00 Author:May | From:SeekIC

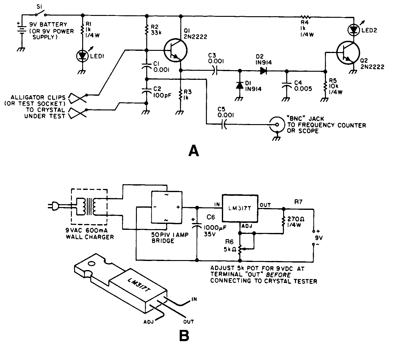
Q1 acts as a Colpitts crystal oscillator, and if the crystal under test is operational, the RF signal is rectified by D1 and D2, turning on Q2 and lighting indicator LED2. LED1 is a power indicator.
Reprinted Url Of This Article:
http://www.seekic.com/circuit_diagram/Measuring_and_Test_Circuit/Crystal_tester.html
Print this Page | Comments | Reading(3)
Code: