Published:2009/7/14 1:59:00 Author:May | From:SeekIC

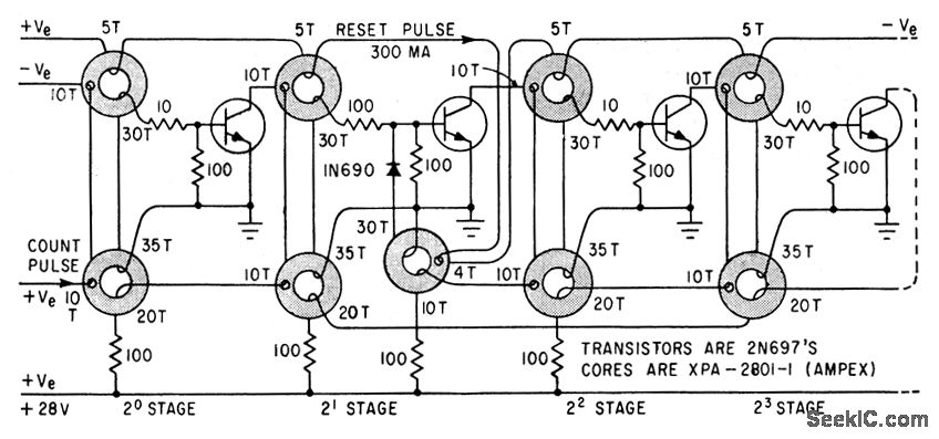
Addition of one core and one diode per decade converts straight-binary counter to decimal-coded counter.-W. R. Johnston, Multiaperture-Core Counters Give Nondestructive Storage Readout, Electronics, 34:24, p 62-64.
Reprinted Url Of This Article:
http://www.seekic.com/circuit_diagram/Measuring_and_Test_Circuit/DECIMAL_CODED_COUNTER.html
Print this Page | Comments | Reading(3)
Code: