Published:2009/7/21 3:04:00 Author:Jessie | From:SeekIC

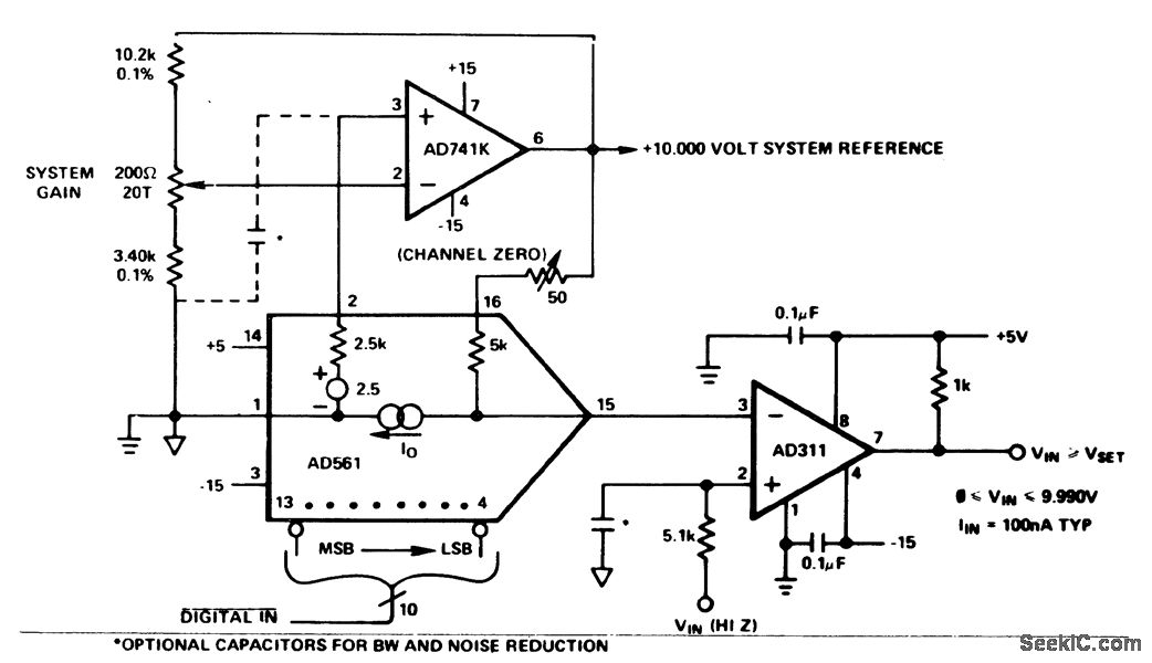
Digitally programmed set point comparator (courtesy Analog Devices, Inc.).
Reprinted Url Of This Article:
http://www.seekic.com/circuit_diagram/Measuring_and_Test_Circuit/Digitally_programmed_set_point_comparator.html
Print this Page | Comments | Reading(3)
Code: