Published:2009/7/9 4:15:00 Author:May | From:SeekIC

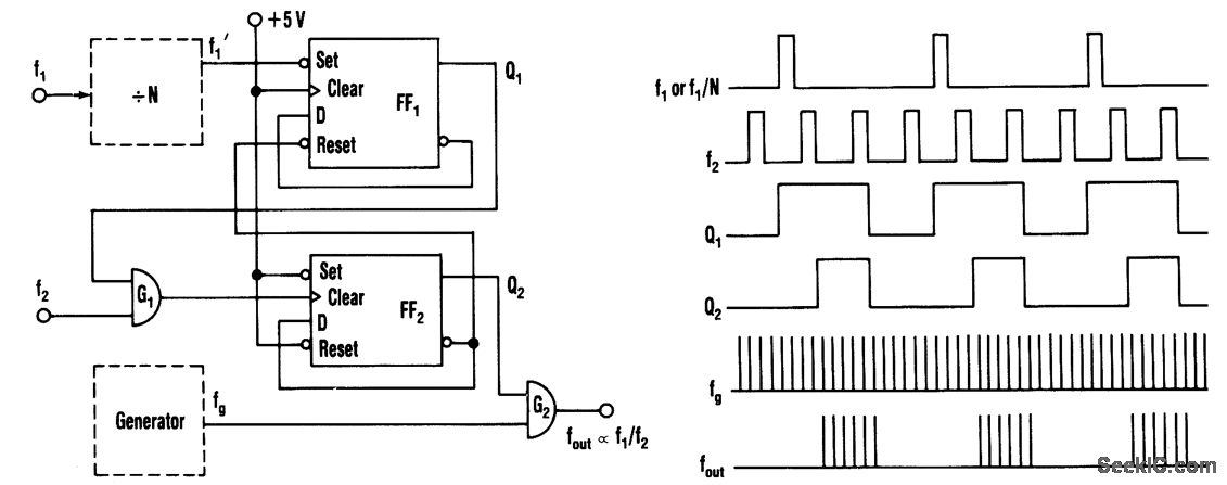
This circuit produces an output frequency that is linearly proportionj to the ratio oftwo input frequen-cies fl/f2.Each pulse of the bias f1(or f)will open G1 for a period T=1/f2 so that fg/f2, pulses pass to the output.
Reprinted Url Of This Article:
http://www.seekic.com/circuit_diagram/Measuring_and_Test_Circuit/FREQUENCY_RATIO_MONITORING_CIRCUIT.html
Print this Page | Comments | Reading(3)
Code: