Published:2009/7/1 20:41:00 Author:May | From:SeekIC

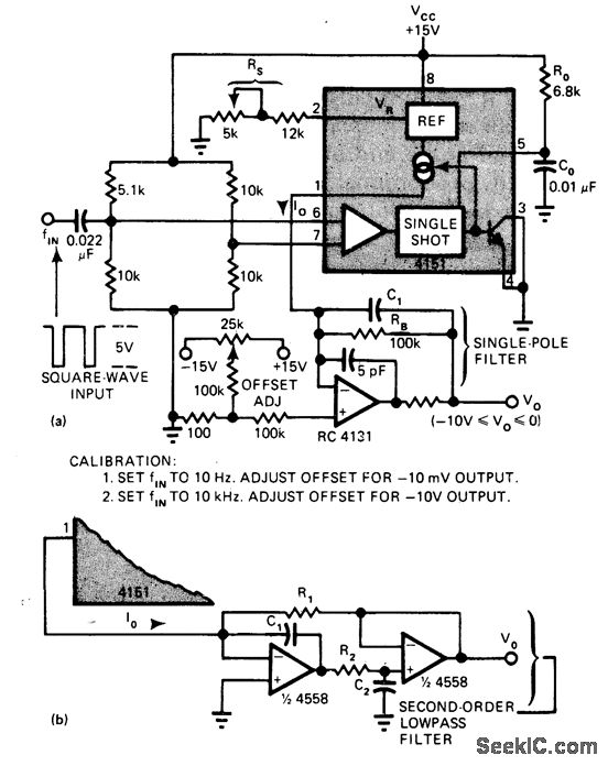
1Uses Raytheon 4151 as frequency-to-voltage converter for generating currentpulses having precise amplitude and width.Average value of output pulse train is directly proportional to input frequency. Article gives design equations. Response time can be improved and ripple reduced by using secondorder (double-pole) low-pass filter as shown in diagram (b). Ripple is Iess than 0.1 V P-P over range of 10 to 10,000Hz when R1 and R2 are 100K and C1 and C2 are 0.1 μF.-T. Cate, IC V/F Converters Readily Handle Other Functions Such as F/ V,A/D, EDN Magazine, Jan. 5, 1977, p 82-86.
Reprinted Url Of This Article:
http://www.seekic.com/circuit_diagram/Measuring_and_Test_Circuit/F_V_WITH_4151.html
Print this Page | Comments | Reading(3)
Code: