Published:2009/7/10 21:33:00 Author:May | From:SeekIC

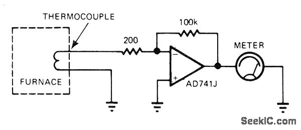
Output of unreferenced thermocouple dfives meter through opamp that provides required gain, for monitoring temperature inside furnace when exact temperature value is not required. Meter is simply calibrated in terms of hot and cold.-J. Williams, Designer's Guide to: Temperature Measurement, EDN Magazine, May 20, 1977, p 71-77.
Reprinted Url Of This Article:
http://www.seekic.com/circuit_diagram/Measuring_and_Test_Circuit/HOT_COLD_METER.html
Print this Page | Comments | Reading(3)
Code: