Published:2009/7/19 20:32:00 Author:Jessie | From:SeekIC

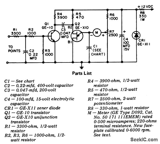
High-precision tachometer. Capacitor C1 is rated at 200 volts. The meter shown is a standard panel meter with a 0 to 500 μA range. It is available from GE with a modified faceplate. For information about the modified meter write to General Electric Company, Tube Dept., Attention R.G. Kempton, 316 East Ninth St., Owenboro, KY 42301. R7 is used to calibrate the tachometer before it is installed. Feed a 60-hertz signal to the input (to point). On four stroke engines with four cylinders adjust for 1800 RPM, with six cylinders adjust for 1200 RPM and with eight cylinders adjust for 900 RPM. On two stroke engines with three cylinders adjust for 1200 RPM and with four cylinders adjust for 900 RPM. The 60-hertz signal should be no greater than 9 volts AC (courtesy General Electric Company).
Reprinted Url Of This Article:
http://www.seekic.com/circuit_diagram/Measuring_and_Test_Circuit/High_precision_tachometer.html
Print this Page | Comments | Reading(3)
Code: