Published:2009/7/9 22:33:00 Author:May | From:SeekIC


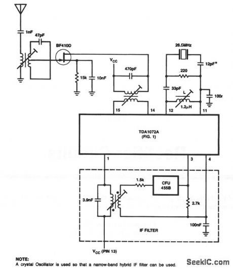
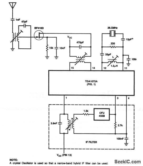
This circuit has aerial and local oscillator circuits for a 27-MHz recelver for remote control of garagedoors, projectors, curtains, etc.
Reprinted Url Of This Article:
http://www.seekic.com/circuit_diagram/Measuring_and_Test_Circuit/INTEGRATED_AM_RECEIVER.html
Print this Page | Comments | Reading(3)
Code: