Published:2009/7/16 2:50:00 Author:Jessie | From:SeekIC

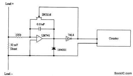
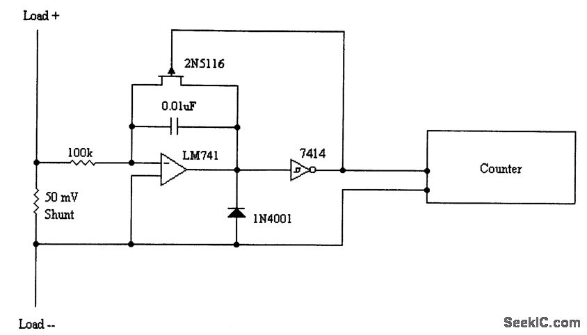
The current in the line produces a dc drop across the shunt, which feeds an integrator. When the integrator output reaches the level required to activate the Schmitt trigger, the 0.01-μF capacitor that is used in the integrator is discharged and a pulse is produced at the output of the Schmitt trigger (7414). A digital counter counts these pulses, and the counter reading is proportional to the product of current flow and time.
Reprinted Url Of This Article:
http://www.seekic.com/circuit_diagram/Measuring_and_Test_Circuit/INTEGRATING_CURRENT_METER_CIRCUIT.html
Print this Page | Comments | Reading(3)
Code: