Published:2009/6/23 1:34:00 Author:May | From:SeekIC

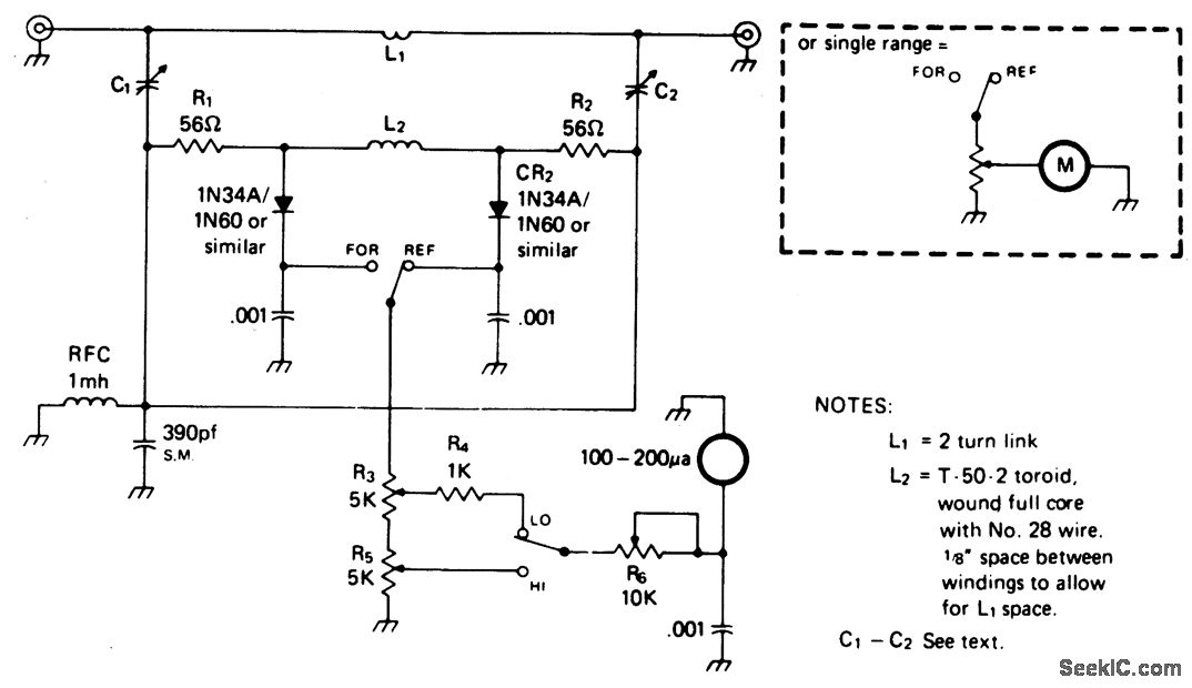
The circuit is not frequency sensitive. Its calibration will be accurate over a wide fre-quency spectrum, such as the entire amateur hf spectrum, if the values of L2, the voltage di-vider capacitors C1-2 and C3, and the resis-tances of RI-2 are chosen properly. R1-2 and CR1-2 should be matched for best results.Generally, R1-2 must be small compared to the reactance of L2 so as to avoid any significant effect on the L2 current which is induced by the transmission line current flowing through L1. The lower frequency limit of the bridge is set by the RI-R2/Ls ratio, and the cutoff is at the point where the value of RI-R2 becomes significant with reference to the reactance of L2 at that frequency point.
Reprinted Url Of This Article:
http://www.seekic.com/circuit_diagram/Measuring_and_Test_Circuit/IN_LINE_WATTMETER.html
Print this Page | Comments | Reading(3)
Code: