Published:2009/7/17 4:36:00 Author:Jessie | From:SeekIC

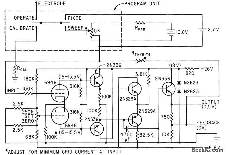
Used in Aerobee sounding rocket to measure day time sporadic-E ionization of upper atmosphere. Electrometer uses 100% feedback and Thyrite resistor to produce compressed scale on telemetry record.-M. F. Wolff, Rockets Probe Sporadic-E, Electronics, 35:211, p 18-19.
Reprinted Url Of This Article:
http://www.seekic.com/circuit_diagram/Measuring_and_Test_Circuit/LANGMUIR_ELECTRON_DENSITY_PROBE.html
Print this Page | Comments | Reading(3)
Code: